HD Standard Marine Valve
Home » Products » Marine Valve » HD Standard Marine Valve

HD Standard Marine Valve

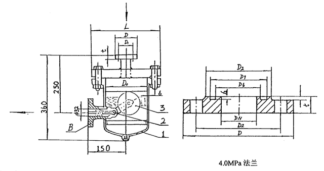
The HD Standard Marine Valve features precise engineering and robust construction, making it capable of withstanding high pressures and harsh operating conditions. It is available in different configurations, including globe valves, screw-down non-return valves, butterfly valves, remote-operated valves, check valves, gate valves, ball valves, and safety/reducing valves.

 Univalve Marine
Leave a Message
Contact us

QUICK LINKS

PRODUCT CATEGORY

CONTACT US

Tel:+86-21-69111291 / +86-21-31135183
Fax:+86-21-33321215
Mobile:+86-13120585858 / +86-13585555702
Email: sales@univalvemarine.com
Address:No. 320 Jiahao Road, Jiading District, Shanghai
Copyright © 2023 Shanghai Univalve Marine Equipment Co., Ltd. All Rights Reserved. | Sitemap | Privacy Policy | Supported by leadong.com